成立于2003年,企业驻场式咨询模式开创者
专家热线:139 2212 9159
400 991 0880

食品车间布局6大原则

发布时间:2020-03-23     浏览量:11133    来源:欧亿9咨询
【摘要】:生产车间设计规划与布局需要考虑多个方面的因素,尤其是食品厂车间的布局相对通常的车间对光线温度等提出了更多的要求。总的来说食品车间布局6大原则如下。

  生产车间设计规划与布局需要考虑多个方面的因素,尤其是食品厂车间的布局相对通常的车间对光线温度等提出了更多的要求。总的来说食品车间布局6大原则如下。

  食品车间布局6大原则

  1、食品车间布局与设计首先应满足生产、卫生方面的要求,其次才是满足总体设计的要求。

  2、生产车间应充分考虑生产效率,保证各个生产车间各工序间的相互配合,缩短原料及成品的运送距离,人流、物流通道要保持畅通。

  3、各个生产车间的位置及车间内布局按照工艺流程走向来确定,以保证人流及物流都按照一个方向移动,避免出现倒流或混流的情况,避免和减少产品的交叉污染。

  4、设备布局应按流水线来安排,并尽量做到占地面积最少,操作最方便。

  5、食品车间尤其要注意车间的采光、通风、降温等设施,对于会散发热量、气味或有腐蚀的设施或操作,要进行单独布局。

  6、能够布局在室外的设备或设施,尽可能布局在室外,设备上面可加盖防雨、防晒棚。

  食品生产车间布局注意事项

  凉果生产车间主要包含清洗车间、腌制、晒场、煮味或浸味车间、包装车间等四个部分。食品生产车间每一部分布局有不同的要求。

  食品生产车间布局---车间结构

  生产流水线的形式和食品厂的生产规模决定了车间的长度,为了利于流水线的排布,大中型凉果长加工车间的长度通常60m左右较适宜;车间层高按房屋的跨度和生产工艺要求而定,通常以4~6m为宜,低也不能低于3m;单层厂房的层高可适当有所提高,国外食品生产车间高度通常为6~10m,有车间层也有高达12m以上的情况。

  车间内立柱越少越好,过于拥挤的车间,不但妨碍生产操作,而且人员之间容易发生相互碰撞,人员工作服与生产设备发生接触,很容易造成产品污染。

  食品生产车间布局---车间总布局

  凉果加工过程大都是从原料——半成品——成品的过程,也是从非清洁到清洁的过程。所以,原则上应该按照食品的加工顺序进行布局,让食品加工从不清洁的环节过渡到清洁环节。

食品车间布局6大原则

  凉果加工车间布局图

  食品生产车间布局---腌制、清洗

  腌制、清洗车间应与原料仓库相邻,大中型凉果厂由于产量大,需处理的原料量大,车间的面积相应比较大。生产场地可再分为原料处理区和腌制区两个部分。原料处理区是对原料进行分级、清洗。期间如果使用机械,往往是先分级再清洗,即分级机摆放在洁洗机之前,两者之间用输送带连接。腌制车间腌制池数量根据需要量来确定,为了方便操作同时及减少占地面积。腌制池数量少的,可采用单侧排置的方式,腌制池前为通道,通道的宽度应在1.5m以上;腌制池数量如果较多,则可双向、或三向排置,每一向池之间的通道宽度应在1.5m以上,池与池之间的间隔至少750px。

  食品生产车间布局---煮味及浸味车间

  煮味及浸味车间应为两个有间隔的独立工作间,煮料间应单独分隔出配料间。小型企业通常无锅炉,煮料多使用明火,为保证卫生,放置煮料锅的灶台与烧火间要有隔离,不能连为一体;备有锅炉的大型凉果企业,煮料通常采用可倾式不锈钢蒸气夹层锅,一个夹层锅的操作面积不能少于4.5m;。

  食品生产车间布局---晒场布局

  大多数凉果工厂的原料半成品及浸味后半成品的晒制以日晒为主。晒场相应地可分为两个部分,通常浸味后的半成品晒制场靠近浸味间;原料半成品晒制场靠近腌制场所。两部分也可以同为一个晒场,但功能及卫生条件需要明确区分。同时晒场需要满足晒场卫生标准。

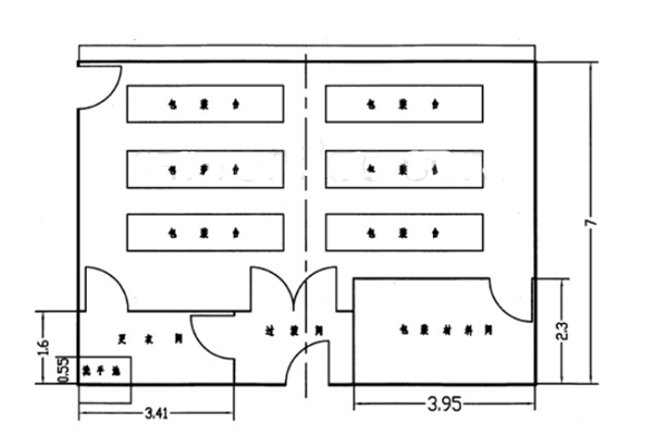
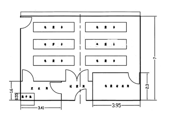
  食品生产车间布局---包装车间布局

  凉果厂人最集中、卫生要求较高的生产场所就是包装车间,该车间主要的生产设施是包装台和包装机。

  大型包装车间以包装机和物料台等辅助器具组成若干条生产线,可同时包装相同或不同品种的产品,每条生产线之间的间隔2~2.5m。

  以人工包装为主的场合,每个包装台的长宽通常为3m*l.5m,每侧可坐3个工人,台与台的间距不得少于2m。产品包装间的进口处必须设有更衣室、洗手处,需要满足“包装车间卫生要求”。

食品车间布局6大原则

  凉果包装车间平面布局示意图

  小型凉果厂由于面积较小,生产区的布局大多呈“田”字型。年产量达到万吨以上的大型凉果厂各个生产车间的面积较大,其生产布局逐渐向立体化发展。无论大小如何,食品车间布局,都应遵循以上食品车间布局6大原则。另外每一食品生产车间布局需要根据其用途,分别满足其使用需要。

  可能感兴趣:

 

 

上一篇:什么是拉动式生产?拉动式生产的优点和问题!

下一篇:生产流程分析法内容步骤

新闻动态
联系我们
广东省广州市海珠区新港东路中洲中心北塔20楼
400-991-0880
zrtg888@163.com